磅級電站止回閥產品概述
磅級電站止回閥是一種閥體進出口端以焊接的方式與管道相連,依靠介質的流動使閥瓣繞體腔內銷軸作旋轉運動,以達到自動阻止流體逆流的高溫高壓旋啟式止回閥,其閥體的中空內腔內鉸接有搖桿,搖桿的下端設有跟隨搖桿轉動的閥瓣,閥瓣與呈傾斜狀設置在閥內的密封面相配合,從而使密封性能穩定和可靠,密封面堆焊司太立硬質合金,具有良好的耐磨性。該閥中腔采用內壓自緊式密封結構,當閥門工作在高溫高壓工況下時,介質施加壓力于閥蓋的下底面,閥蓋將壓力傳遞給自密封圈、壓環和四開環,此時自密封圈和壓環發生形變,從而實現了良好的密封性能,同時結合壓蓋和閥蓋,保障了止回閥在高壓下能夠持續穩定的工作。本產品特適用于火力發電機組的汽、水管道上,防止流體回流。
磅級電站止回閥部件材料
| 序號 | 部件名稱 | 材料名稱 | |||||
| 1 | 閥 體 | A216 WCB | A217 WC1 | A217 WC6 | A217 WC9 | A217 C12A | A351 CF8C |
| 2 | 閥 蓋 | A216 WCB | A217 WC1 | A217 WC6 | A217 WC9 | A217 C12A | A351 CF8C |
| 3 | 銷 軸 | A105 | A182 F11 | A182 F11 | A182 F22 | A182 F91 | A182 F347 |
| 4 | 搖 桿 | A216 WCB | A217 WC1 | A217 WC6 | A217 WC9 | A217 C12A | A351 CF8C |
| 5 | 閥 瓣 | A105 | A182 F11 | A182 F11 | A182 F22 | A182 F91 | A182 F347 |
| 6 | 閥 座 | A105 | A182 F11 | A182 F11 | A182 F22 | A182 F91 | A182 F347 |
| 7 | 密 封 圈 | GRAPHITE | GRAPHITE | GRAPHITE | GRAPHITE | GRAPHITE | GRAPHITE |
| 8 | 螺 柱 | A193 B7 | A193 B16 | A193 B16 | A193 B16 | A193 B16 | A193 B8 |
| 9 | 螺 母 | A194 2H | A194 16 | A194 16 | A194 16 | A194 16 | A194 8 |
磅級電站止回閥性能規范
| 公稱壓力Class | 900 | 1500 | 2000 | 2500 | 3000 | 3500 |
| 殼體強度試驗壓力(MPa) | 22.5 | 39.2 | 52.2 | 65.2 | 78.2 | 91.2 |
| 水壓密封試驗壓力(MPa) | 16.5 | 28.6 | 38.15 | 47.75 | 57.3 | 66.75 |
| 氣密封試驗壓力(MPa) | 0.5~0.7 | 0.5~0.7 | 0.5~0.7 | 0.5~0.7 | 0.5~0.7 | 0.5~0.7 |
| 設計制造 | ASME B16.34:2013、BS 1868:1975、JIS E-101 | |||||
| 結構長度 | ASME B16.10:2017、BS 2080:1989、JIS E-101 | |||||
| 對焊端部 | ASME B16.25:2012或按訂貨合同的要求 | |||||
| 檢驗試驗 | API 598:2016、BS 6755-1:1986、JIS E-101 | |||||
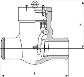
磅級電站止回閥主要尺寸
| 公稱壓力 Class | 公稱尺寸 NPS | 外形尺寸/mm | 公稱壓力 Class | 公稱尺寸 NPS | 外形尺寸/mm | ||
| L | H | L | H | ||||
| 1500 | 2 ? | 254 | 282 | 2000 | 2 ? | 330 | 240 |
| 3 | 305 | 325 | 3 | 368 | 305 | ||
| 4 | 406 | 350 | 4 | 457 | 315 | ||
| 5 | 483 | 425 | 5 | 533 | 409 | ||
| 6 | 559 | 450 | 6 | 610 | 465 | ||
| 8 | 711 | 490 | 8 | 762 | 528 | ||
| 10 | 864 | 540 | 10 | 914 | 613 | ||
| 12 | 991 | 650 | 12 | 1041 | 660 | ||
| 14 | 1067 | 710 | 14 | 1118 | 745 | ||
| 表中未列出的其他規格參數,請咨詢汗越閥門技術部! | |||||||
磅級電站止回閥結構圖

如果你需訂購我廠電站閥系列產品,咨詢時煩請說明公稱通徑、公稱壓力、材質、連接端執行標準、使用介質及介質溫度等,本產品安裝時,閥軸宜置于水平位置,首次運行時,壓力自密封圈預緊螺柱和承壓法蘭連接螺柱應進行熱緊,應定期檢查閥體與閥蓋等連接處的密封情況,發現泄漏應及時采取措施。

