高溫高壓電站止回閥產品概述
高溫高壓電站止回閥是一種閥瓣沿著閥座軸線作升降運動,適用于火力發電廠主給水系統管道上,自動阻止介質到流,對水泵等主機設備正常運行起保護作用的裝置,其依靠介質的壓力頂開閥瓣而導通,無介質壓力作用時或流體反向流動時,閥瓣在自身重力以及彈簧力作用下,迅速回座與閥座緊密吻合而實現密封,以截斷回流。該閥閥體與閥蓋的連接一般采用內壓自緊式密封結構,在介質壓力作用下,能達到可靠密封,并在閥蓋導向套筒側部或閥瓣導向筒側部加工有泄壓孔,當閥瓣上升時,通過泄壓孔排出套筒內的介質,以減小閥瓣開啟時的阻力。本產品通常水平安裝在水泵機組的后面,防止機組非正常停車導致介質倒流而使機組反轉,具有結構簡單,密封性能好,啟閉速度快,耐高溫高壓等特點。
高溫高壓電站止回閥部件材料
| 序號 | 部件名稱 | 材料名稱 | |||||
| 1 | 閥 體 | A216 WCB | A217 WC6 | A217 WC9 | A217 C12A | ZG20CrMoV | ZG15Cr1Mo1V |
| 2 | 閥 座 | A105 | A182 F11 | A182 F22 | A182 F91 | 12Cr1MoV | 15Cr1Mo1V |
| 3 | 閥 瓣 | A105 | A182 F11 | A182 F22 | A182 F91 | 12Cr1MoV | 15Cr1Mo1V |
| 4 | 閥 蓋 | A105 | A182 F11 | A182 F22 | A182 F91 | 12Cr1MoV | 15Cr1Mo1V |
| 5 | 壓 環 | A182 F6a | A182 F11 | A182 F22 | A182 F91 | 12Cr1MoV | 15Cr1Mo1V |
| 6 | 四 開 環 | A182 F6a | A182 F11 | A182 F22 | A182 F91 | 12Cr1MoV | 15Cr1Mo1V |
| 7 | 密 封 圈 | A182 F304 | A182 F304 | A182 F304 | A182 F316 | A182 F316 | A182 F316 |
| 8 | 螺 栓 | A193 B7 | A193 B16 | A193 B16 | A193 B16 | 25Cr2Mo1VA | 25Cr2Mo1VA |
| 9 | 螺 母 | A194 2H | A194 16 | A194 16 | A194 16 | 25Cr2Mo1VA | 25Cr2Mo1VA |
高溫高壓電站止回閥性能規范
| 公稱壓力PN(MPa) | 20.0 | 25.0 | 32.0 | — | — | — |
| 工作壓力(MPa) | — | — | — | 10.0 | 14.0 | 17.0 |
| 工作溫度(℃) | — | — | — | 540 | 540 | 540 |
| 殼體水壓試驗壓力(MPa) | 30.0 | 37.5 | 48.0 | 30.0 | 40.0 | 48.0 |
| 密封水壓試驗壓力(MPa) | 22.0 | 27.5 | 35.2 | 12.5 | 17.5 | 21.3 |
| 氣密封試驗壓力(MPa) | 0.5~0.7 | 0.5~0.7 | 0.5~0.7 | 0.5~0.7 | 0.5~0.7 | 0.5~0.7 |
| 設計制造 | NB/T 47044、ASME B16.34、JIS E-101 | |||||
| 結構長度 | GB/T 12221、ASME B16.10、JIS E-101 | |||||
| 焊接坡口 | NB/T 47044、ASME B16.25或按訂貨合同要求 | |||||
| 檢驗試驗 | NB/T 47044、API 598、JIS E-101 | |||||
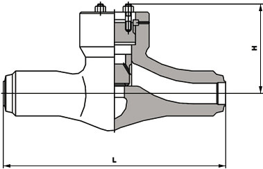
高溫高壓電站止回閥主要尺寸
| 公稱壓力 PN | 公稱通徑 DN | 外形尺寸/mm | 公稱壓力 PN | 公稱通徑 DN | 外形尺寸/mm | ||
| L | H | L | H | ||||
| 250 | 10 | 120 | 155 | 320 | 10 | 120 | 155 |
| 15 | 170 | 200 | 15 | 170 | 200 | ||
| 20 | 170 | 210 | 20 | 170 | 210 | ||
| 25 | 170 | 210 | 25 | 170 | 210 | ||
| 32 | 200 | 245 | 32 | 200 | 245 | ||
| 40 | 230 | 270 | 40 | 230 | 270 | ||
| 50 | 350 | 300 | 50 | 350 | 300 | ||
| 65 | 326 | 410 | 65 | 326 | 410 | ||
| 80 | 470 | 370 | 80 | 470 | 370 | ||
| 100 | 560 | 420 | 100 | 560 | 420 | ||
| 表中未列出的其他規格參數,請咨詢汗越閥門技術部! | |||||||
高溫高壓電站止回閥結構圖

如果你需訂購我廠電站閥系列產品,咨詢時煩請說明公稱通徑、公稱壓力、殼體材質、使用介質、工作溫度等,我廠可按客戶需求承接定制,本產品有兩種,一種是設計制造符合ASME B16.34和JIS E-101的規定,另種為采用NB/T 47044標準。

