電站Y型截止閥產品概述
電站Y型截止閥是一種通路成一直線,閥桿軸線位置與閥體通道中線成斜角的高溫高壓直流式截止閥,其承壓件材料選用鉻鉬鋼或耐熱不銹鋼鑄件或鍛件,滿足了閥門的高溫性能和高強度要求,且它的流道為低流阻流線型設計,擁有很高的流量系數,可以較大限度減小通過管路系統的壓降,從而實現小流阻,快速啟閉。該閥將閥體的中腔設計成傾斜方向,密封面與流道孔呈斜角密封,這樣的結構減輕了閥門密封面受到的沖蝕程度,由于中腔的傾斜,使得流道的入口和出口在水平位置上靠近,從而有效的減小了介質的流體阻力,減輕了噪音。本產品閥座和閥瓣密封面采用司太立鈷-鉻-鎢硬質合金,具有柔韌性和耐沖擊能力強,以及硬度高的特點,延長了閥在高溫、高壓系統下的使用時間。
電站Y型截止閥部件材料
| 序號 | 部件名稱 | 材料名稱 | |||||
| 1 | 閥 體 | A216 WCB | A217 WC1 | A217 WC6 | A217 WC9 | A217 C12A | A351 CF8C |
| 2 | 閥 蓋 | A216 WCB | A217 WC1 | A217 WC6 | A217 WC9 | A217 C12A | A351 CF8C |
| 3 | 閥 桿 | A182 F6a CL.2 | A182 F11 | A182 F11 | A182 F22 | A182 F91 | A182 F347 |
| 4 | 閥 瓣 | A105 | A182 F11 | A182 F11 | A182 F22 | A182 F91 | A182 F347 |
| 5 | 閥 座 | A105 | A182 F11 | A182 F11 | A182 F22 | A182 F91 | A182 F347 |
| 6 | 填料壓蓋 | A216 WCB | A217 WC1 | A217 WC6 | A217 WC9 | A217 C12A | A351 CF8C |
| 7 | 填 料 | GRAPHITE | GRAPHITE | GRAPHITE | GRAPHITE | GRAPHITE | GRAPHITE |
| 8 | 螺 栓 | A193 B7 | A193 B7 | A193 B16 | A193 B16 | A193 B16 | A193 B8 |
| 9 | 螺 母 | A194 2H | A194 2H | A194 16 | A194 16 | A194 16 | A194 8 |
電站Y型截止閥性能規范
| 公稱壓力Class | 900 | 1500 | 2000 | 2500 | 3000 | 3500 |
| 強度水壓試驗壓力/MPa | 22.5 | 39.2 | 52.2 | 65.2 | 78.2 | 91.2 |
| 上密封水壓試驗壓力/MPa | 16.5 | 28.6 | 38.15 | 47.75 | 57.3 | 66.75 |
| 密封水壓試驗壓力/MPa | 16.5 | 28.6 | 38.15 | 47.75 | 57.3 | 66.75 |
| 設計制造 | ASME B16.34:2013、BS 1873:1975 | |||||
| 結構長度 | ASME B16.10:2017、BS 2080:1989 | |||||
| 焊接坡口 | ASME B16.25:2012或按訂貨合同的要求 | |||||
| 檢驗試驗 | API 598:2016、BS 6755-1:1986 | |||||
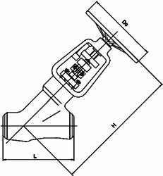
電站Y型截止閥主要尺寸
| 公稱壓力 Class | 公稱尺寸 NPS | 外形尺寸/mm | 公稱壓力 Class | 公稱尺寸 NPS | 外形尺寸/mm | ||
| d | L | d | L | ||||
| 1500 | 2 ? | 56 | 330 | 2500 | 2 | 38 | 310 |
| 3 | 64 | 368 | 2 ? | 46 | 340 | ||
| 4 | 84 | 457 | 3 | 54 | 390 | ||
| 5 | 100 | 533 | 4 | 70 | 480 | ||
| 6 | 126 | 610 | 5 | 86 | 580 | ||
| 8 | 158 | 762 | 6 | 104 | 630 | ||
| 2000 | 4 | 80 | 457 | 8 | 130 | 770 | |
| 5 | 96 | 533 | 10 | 162 | 930 | ||
| 6 | 118 | 610 | 3500 | 3 | 48 | 470 | |
| 8 | 148 | 762 | 4 | 60 | 550 | ||
| 10 | 180 | 914 | 5 | 74 | 660 | ||
| 12 | 222 | 1041 | 6 | 88 | 790 | ||
| 表中未列出的其他規格參數,請咨詢汗越閥門技術部! | |||||||
電站Y型截止閥結構圖

如果你需訂購我廠其他電站閥產品,咨詢時煩請說明公稱尺寸、公稱壓力、材質、連接端執行標準、使用介質及工作溫度等,我廠可按客戶需求承接定制,本產品有鑄造和鍛造兩種,驅動方式也可選用手輪、傘齒輪、電動、氣動及液動等。

